

DS1780是Maxim美信半导体公司的一款1-Wire器件产品,DS1780是CPU外设监测器,本站介绍了DS1780的封装应用图解、特点和优点、功能等,并给出了与DS1780相关的Maxim元器件型号供参考。
DS1780 - CPU外设监测器 - 1-Wire器件 - Maxim美信半导体高性能芯片品质 - 美信半导体
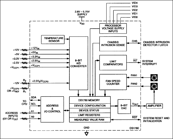
The DS1780 is a highly integrated system instrumentation monitor that is ideal for use in personal computers or any microprocessor-based system. It monitors temperature (±2°C accuracy from -25°C to +100°C), six power supply voltages, and the speed of two fans. Fan speed can also be controlled using the DS1780's internal 8-bit DAC. All measurements are internally converted to a digital format for easy processing by the CPU.
The DS1780 can be reset to its default power-up state through a remote reset function that has internal debounce and delay. The DS1780 also features an interrupt function that can be programmed to become active should any of the monitored parameters fall out of spec. For board-level testability, an internal NAND TREE function simplifies system design, and a chassis intrusion input enhances system security.
Programming and data readout are accessed through a simple 2-wire interface with 2-bit addressability. The DS1780 power supply range of 2.8V to 5.75V allows parameter monitoring for 3V or 5V systems. The DS1780 is assembled in a 24-pin 173mil TSSOP package (DS1780E).







