

MAX1437B是Maxim美信半导体公司的一款数据转换器和采样-保持电路产品,MAX1437B是八路、12位、50Msps、1.8V ADC,串行LVDS输出,本站介绍了MAX1437B的封装应用图解、特点和优点、功能等,并给出了与MAX1437B相关的Maxim元器件型号供参考。
MAX1437B - 八路、12位、50Msps、1.8V ADC,串行LVDS输出 - 数据转换器和采样-保持电路 - 功能兼容于MAX1437,但具有更小尺寸 - 美信半导体
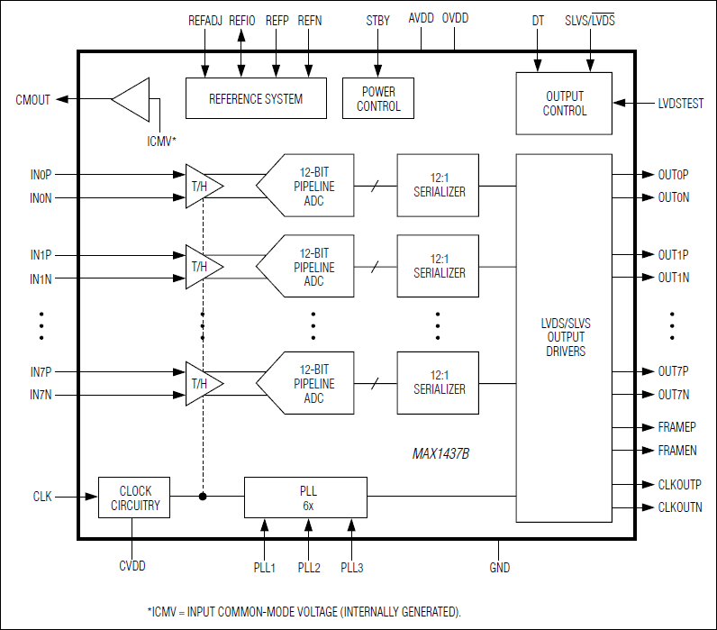
MAX1437B为8路、12位模/数转换器(ADC),具有全差分输入,流水线架构,可对全差分信号进行数字误差校准。该ADC设计用于低功耗、高动态性能的医学成像设备和数字通信产品。MAX1437B采用1.8V单电源供电,功耗仅为768mW (每通道96mW)。输入频率5.3MHz时,信噪比(SNR)可达70.2dB (典型值)。除了自身的低功耗特性外,MAX1437B还在空闲周期提供关断模式。
内部1.24V高精度带隙基准用于设置ADC的满量程输入范围,灵活的基准架构允许使用外部基准,以满足更高精度或不同差分输入电压范围的要求。该基准架构专门针对低噪声特性进行优化。
单端时钟用于控制转换过程。内部占空比均衡器可在较大范围内补偿时钟占空比的变化。片内PLL生成高速串行低电压差分信号(LVDS)时钟。
MAX1437B具有自对齐数据、时钟以及帧对齐信号串行LVDS输出。输出数据以二进制补码格式表示。
MAX1437B采样率高达50Msps。该器件提供带裸焊盘的小尺寸10mm x 10mm x 0.8mm、68引脚TQFN封装,工作于扩展工业级温度范围(-40°C至+85°C)。







