

MAX5535是Maxim美信半导体公司的一款数据转换器和采样-保持电路产品,MAX5535是双路、超低功耗、12位、电压输出DAC,本站介绍了MAX5535的封装应用图解、特点和优点、功能等,并给出了与MAX5535相关的Maxim元器件型号供参考。
MAX5535 - 双路、超低功耗、12位、电压输出DAC - 数据转换器和采样-保持电路 - Maxim美信半导体高性能芯片品质 - 美信半导体
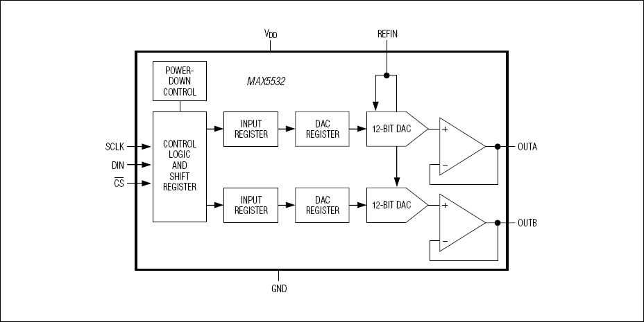
MAX5532–MAX5535是双路、12位、超低功耗、电压输出型数模转换器(DAC),提供满摆幅缓冲电压输出。这些DAC采用1.8V至5.5V电源工作,电流消耗低于5µA,尤其适合于低功率、低电压应用。关断模式可降低包括基准输入电流在内的总电流,使其仅为0.18µA。MAX5532–MAX5535采用兼容SPI™、QSPI™和MICROWIRE™的3线串行接口。在上电时,MAX5532–MAX5535输出被驱动至零,为驱动阀门或其它要求上电时必须关闭的变送器等应用提供额外的安全性。零输出在上电期间不会出现脉冲尖峰。
MAX5532接受外部基准输入、提供单位增益输出。MAX5533内置精密基准,并提供一路带缓冲的外部基准输出和单位增益DAC输出。MAX5534接受外部基准输入,提供加载-感应输出。MAX5535内置精密基准,提供一路带缓冲的外部基准输出,并提供加载-感应DAC输出。MAX5534/MAX5535提供4mm x 4mm x 0.8mm、12引脚、薄型QFN封装。MAX5532/MAX5533提供8引脚µMAX®封装。所有器件保证工作于-40°C至+85°C扩展级温度范围。对于10位兼容器件,请参考MAX5522–MAX5525数据资料。对于8位兼容器件,请参考MAX5512–MAX5515数据资料。







