

MAX5724是Maxim美信半导体公司的一款数据转换器和采样-保持电路产品,MAX5724是八通道、超小尺寸8/10/12位缓冲输出DAC,内置基准和SPI接口,本站介绍了MAX5724的封装应用图解、特点和优点、功能等,并给出了与MAX5724相关的Maxim元器件型号供参考。
MAX5724 - 八通道、超小尺寸8/10/12位缓冲输出DAC,内置基准和SPI接口 - 数据转换器和采样-保持电路 - 功能丰富的8通道DAC系列产品,采用5.75mm2 WLP封装 - 美信半导体
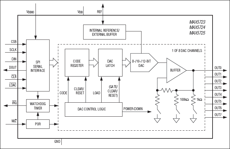
MAX5723/MAX5724/MAX5725 8通道、低功耗、8/10/12位、电压输出数/模转换器(DAC)包括输出缓冲器和一个3ppm/°C内部基准(可选择为2.048V、2.500V或4.096V)。MAX5723/MAX5724/MAX5725可接受2.7V至5.5V宽电源电压范围,具有超低功耗(6mW),适合绝大多数低压应用。准确的外部基准输入允许器件满摆幅工作,对外部基准表现为100kΩ (典型值)等效负载。
MAX5723/MAX5724/MAX5725具有快速50MHz、4线SPI/QSPI™/MICROWIRE®/DSP兼容的串行接口,工作在高达50MHz时钟速率。DAC输出带缓冲器,具有每通道小于250µA的低电源电流以及±0.5mV (典型值)的低失调误差。上电时,MAX5723/MAX5724/MAX5725根据M//Z的逻辑输入状态将DAC输出复位至零或中间值,为大多数控制系统提供灵活性。内部基准在初始上电时处于关断状态,允许采用外部基准。MAX5723/MAX5724/MAX5725可利用软件LOAD命令或硬件加载DAC逻辑输入(/LDAC)同步更新输出。
MAX5723/MAX5724/MAX5725内置可编程看门狗功能,使能后用于监测I/O接口的动作及信号完整性操作。
清零逻辑输入(/CLR)允许异步清除CODE和DAC寄存器的内容,并同时将DAC输出置于可编程的默认值。MAX5723/MAX5724/MAX5725采用20引脚TSSOP封装以及超小型、20焊球WLP封装,工作在-40°C至+125°C温度范围。







