

MAX543是Maxim美信半导体公司的一款数据转换器和采样-保持电路产品,MAX543是串行、CMOS、12位乘法DAC,8引脚封装,本站介绍了MAX543的封装应用图解、特点和优点、功能等,并给出了与MAX543相关的Maxim元器件型号供参考。
MAX543 - 串行、CMOS、12位乘法DAC,8引脚封装 - 数据转换器和采样-保持电路 - 单通道、串行、电流输出DAC,采用SO封装 - 美信半导体
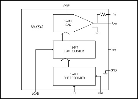
The MAX543 is a 12-bit, current-output, multiplying digital-to-analog converter (DAC) that comes in space-saving 8-pin DIP and 8- or 16-pin surface-mount SO packages. Its 3-wire serial interface saves additional board space and also results in low power dissipation. When used with microprocessors (µPs) with a serial port, the MAX543 minimizes the digital noise feedthrough from its input pins to its output. The serial port can be used as a dedicated analog bus and kept inactive while the MAX543 is in use. Serial interfacing also reduces the complexity of opto- or transformer-isolated applications.
The MAX543 contains a 12-bit R-2R type DAC, a serial-in parallel-out shift register, a DAC register and control logic. On the rising edge of the clock (CLK) pulse, the serial input (SRI) data is shifted into the MAX543. When all the data is clocked in, it is transferred into the DAC register by taking the active-low LOAD input low. The MAX 543 is specified with a single power supply of either +5V or +15V. With a +5V supply, the digital inputs are TTL and +5V CMOS compatible. High-voltage CMOS compatibility is maintained with a +15V supply. Maxim’s MAX543 uses low-tempco thin-film resistors laser trimmed to ±¼ LSB linearity and better than ±1 LSB gain accuracy. The digital inputs are protected against electrostatic discharge (ESD) damage and can typically withstand over 5,000V of ESD voltages







