

MAX5514是Maxim美信半导体公司的一款数据转换器和采样-保持电路产品,MAX5514是双路、超低功耗、8位、电压输出DAC,本站介绍了MAX5514的封装应用图解、特点和优点、功能等,并给出了与MAX5514相关的Maxim元器件型号供参考。
MAX5514 - 双路、超低功耗、8位、电压输出DAC - 数据转换器和采样-保持电路 - 业内首款工作电压可低至1.8V的低功耗DAC - 美信半导体
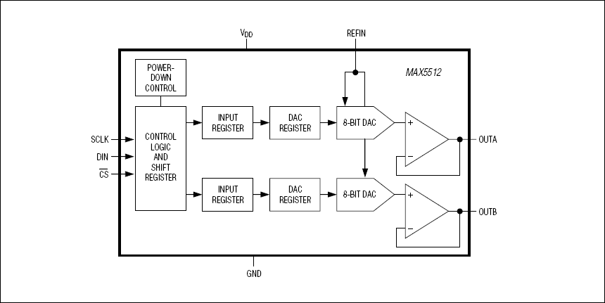
MAX5512-MAX5515为双路、8位、超低功耗、电压输出的数模转换器(DAC),提供满摆幅缓冲电压输出。该类DAC工作在1.8V至5.5V电源下,电流消耗5µA以下,尤其适合于低功耗和低电压应用。关断模式将包括基准输入电流在内的总电流减少到仅0.18µA。MAX5512-MAX5515采用兼容于SPI™、QSPI™及MICROWIRE™的3线串行接口。在上电时,MAX5512-MAX5515输出被驱动至零,为驱动阀门或其它要求上电时必须关断的变频器等应用提供额外的安全性。零输出使上电期间无脉冲尖峰出现。
MAX5512接受外部基准输入,提供单位增益输出。MAX5513内置精密基准,并提供一路缓冲基准输出,且提供单位增益DAC输出。MAX5514接受外部基准输入,提供激励检测输出。MAX5515内置精密基准,提供一路缓冲基准输出,且提供激励检测DAC输出。MAX5514/MAX5515采用4mm x 4mm x 0.8mm、12引脚、薄型QFN封装。MAX5512/MAX5513采用8引脚µMAX®封装。所有器件保证工作在-40°C至+85°C的扩展级温度范围内。对于10位兼容器件,请参考MAX5522-MAX5525数据资料。对于12位兼容器件,请参考MAX5532-MAX5535数据资料。







